Small semi automatic hybrid project
-
hectmarr
- Sergeant


- Posts: 1064
- Joined: Sat May 07, 2016 3:49 pm
- Location: Argentina
- Has thanked: 274 times
- Been thanked: 276 times
- Contact:
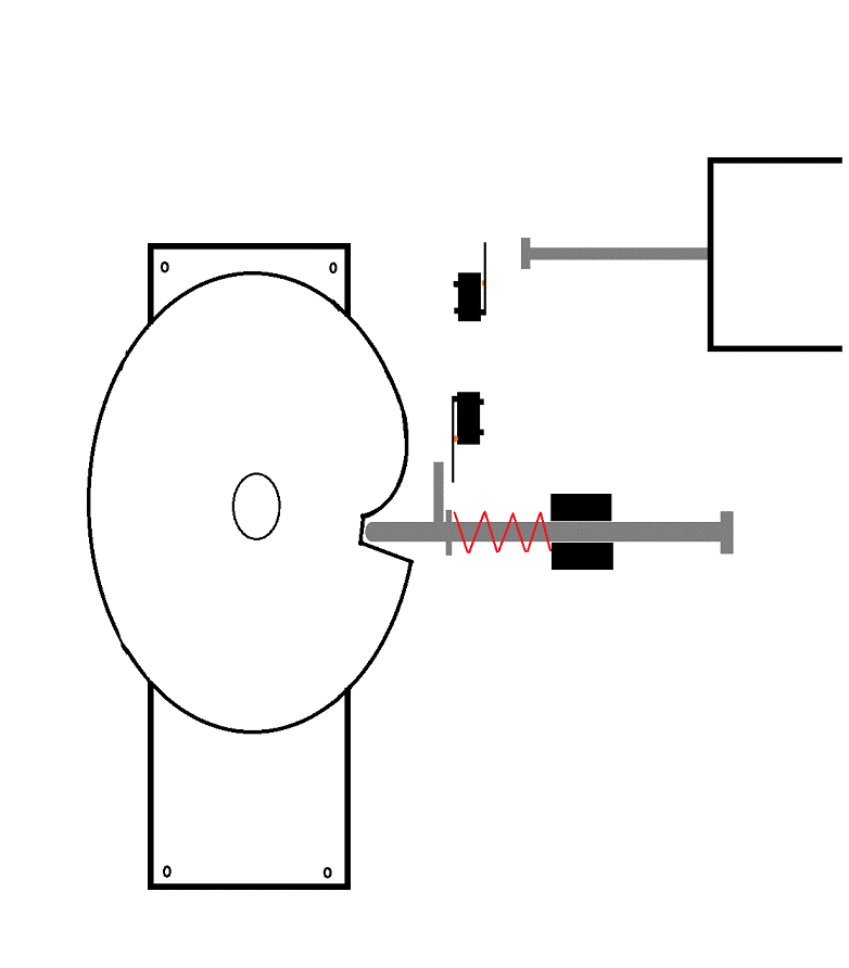
I have several RC servos that do not work in the present. To solve this issue, I used one, but only the motor, gears and housing. The electronic part, potentiometer and platelet, (they did not work), I have discarded them.
The system is like this in the diagram and the animation that I made. I eliminate the lock that prevents the servo from turning 360º, now it does it.
I need only 1 second to charge the gas in the doser, and this is regulated with a little more or less voltage supply, which influences the speed of the wheel to rotate 360º. With three volts, it gives me that time, with a full turn of the system. Use two small monostable switches, (allow current to pass only when pressed), the modified servo and 2 common 1.5 volt batteries in series.
I have tried the force to move the actuator stem and it is more than enough. It was a high torque servo and has a large reduction.
It works in this way:
When the actuator stem is to the left, in the slit of the small wheel, the hybrid is compressed. When the rod is pushed by the small wheel, to the right, in the drawing, the compressed air is closed and butane gas is left in the dispenser, for a second of time.
The switch "1" starts the movement of the motor and the wheel, the switch "2", keeps the motor activated and cuts off the electric current when the rod falls in the grinding wheel. Everything starts again, when the mixture explodes, the auxiliary rod connected to the piston of the combustion chamber moves and activates the switch "1". 8)
I think it's a simple solution with very little cost. I have only modified the servo and I have tried it, it is necessary to build the rest.
I leave a drawing of the whole set, for clarity.
The system is like this in the diagram and the animation that I made. I eliminate the lock that prevents the servo from turning 360º, now it does it.
I need only 1 second to charge the gas in the doser, and this is regulated with a little more or less voltage supply, which influences the speed of the wheel to rotate 360º. With three volts, it gives me that time, with a full turn of the system. Use two small monostable switches, (allow current to pass only when pressed), the modified servo and 2 common 1.5 volt batteries in series.
I have tried the force to move the actuator stem and it is more than enough. It was a high torque servo and has a large reduction.
It works in this way:
When the actuator stem is to the left, in the slit of the small wheel, the hybrid is compressed. When the rod is pushed by the small wheel, to the right, in the drawing, the compressed air is closed and butane gas is left in the dispenser, for a second of time.
The switch "1" starts the movement of the motor and the wheel, the switch "2", keeps the motor activated and cuts off the electric current when the rod falls in the grinding wheel. Everything starts again, when the mixture explodes, the auxiliary rod connected to the piston of the combustion chamber moves and activates the switch "1". 8)
I think it's a simple solution with very little cost. I have only modified the servo and I have tried it, it is necessary to build the rest.
I leave a drawing of the whole set, for clarity.
- Attachments
-
- A. Actuador temporizado electromecánico, REFERENCIAS.png (18.49 KiB) Viewed 20697 times
-
- Unidad dosificadora para híbrido con depósito de aire, 1, carga gas.png (19.55 KiB) Viewed 20694 times
- jackssmirkingrevenge
- Five Star General

- Posts: 26216
- Joined: Thu Mar 15, 2007 11:28 pm
- Has thanked: 576 times
- Been thanked: 347 times
That's very clever! I like how you studied the 555 timer and concluded "to hell with electronic timers, I'll make my own mechanical timer with blackjack and hookers!"

hectmarr wrote:You have to make many weapons, because this field is long and short life
-
hectmarr
- Sergeant


- Posts: 1064
- Joined: Sat May 07, 2016 3:49 pm
- Location: Argentina
- Has thanked: 274 times
- Been thanked: 276 times
- Contact:
I necessarily need a DC electric motor to move the valves, or a self-built electromagnet ... The motor should be as small as possible, and have some strength. It seems to me that the servo has all this ready to be used, without me having to try to build an RPM reducer
of such a small size For this reason I used a servo, because it is small and has strength. The mechanics to cause a linear movement of the actuator shank is the same, if I use a 555 or whatever. It seems to me simpler and inexpensive to use two small switches, worked as it is in the drawing, than to use a system with 555, and other electronic components. The result is more voluminous by the necessary electronic board, although it would also work well. The integrated should move the motor a certain time, so that the stem coincides with the groove of the wheel. Everything else, the mechanical part, would be the same.
of such a small size For this reason I used a servo, because it is small and has strength. The mechanics to cause a linear movement of the actuator shank is the same, if I use a 555 or whatever. It seems to me simpler and inexpensive to use two small switches, worked as it is in the drawing, than to use a system with 555, and other electronic components. The result is more voluminous by the necessary electronic board, although it would also work well. The integrated should move the motor a certain time, so that the stem coincides with the groove of the wheel. Everything else, the mechanical part, would be the same.
-
hectmarr
- Sergeant


- Posts: 1064
- Joined: Sat May 07, 2016 3:49 pm
- Location: Argentina
- Has thanked: 274 times
- Been thanked: 276 times
- Contact:
There is one aspect that I am interested in improving in the design, and it has to do with the operation of hybrid in semiautomatic mode.
The system as it is working, after each shot, leaves the combustion chamber charged with pressure mixing. I do not like this because you can not wait 5 minutes, for example, to make the next shot.
Leaving the combustion chamber of the hybrid with pressure, for a long time, can cause losses, although you should not have them, but it is the reality.
The simple solution, is to add to the spawn, a ball valve common and small, as it is drawn, of manual operation. After firing, the system automatically clears the combustion chamber, charges the butane gas in the doser, and the ammunition in the firing barrel.
With this valve closed, the compressed air does not enter the system until I decide to shoot again, and you can wait 10 minutes or 10 hours ...
On the other hand, if I need to shoot relatively often, fast, I just leave it open, and it works as it does in the present.
I think it's an important improvement, because it's annoying to have always shoot, all the ammunition one after the other, I do not like this.
With this improvement, the weapon can have better characteristics in practice.
Editado:
Analyzing the solution I see that it is necessary to use a valve for the gas tank. It is to cut off the gas inlet when there is no compressed air to do so. It could be two small ball valves working side by side, together.
The system as it is working, after each shot, leaves the combustion chamber charged with pressure mixing. I do not like this because you can not wait 5 minutes, for example, to make the next shot.
Leaving the combustion chamber of the hybrid with pressure, for a long time, can cause losses, although you should not have them, but it is the reality.
The simple solution, is to add to the spawn, a ball valve common and small, as it is drawn, of manual operation. After firing, the system automatically clears the combustion chamber, charges the butane gas in the doser, and the ammunition in the firing barrel.
With this valve closed, the compressed air does not enter the system until I decide to shoot again, and you can wait 10 minutes or 10 hours ...
On the other hand, if I need to shoot relatively often, fast, I just leave it open, and it works as it does in the present.
I think it's an important improvement, because it's annoying to have always shoot, all the ammunition one after the other, I do not like this.
With this improvement, the weapon can have better characteristics in practice.
Editado:
Analyzing the solution I see that it is necessary to use a valve for the gas tank. It is to cut off the gas inlet when there is no compressed air to do so. It could be two small ball valves working side by side, together.
-
hectmarr
- Sergeant


- Posts: 1064
- Joined: Sat May 07, 2016 3:49 pm
- Location: Argentina
- Has thanked: 274 times
- Been thanked: 276 times
- Contact:
Taking up development Freshly painted, military green and black, to start eagerly!
A few days ago I rebuilt the piston, which is now metal. The resin he had is not a friend of the heat generated by firing often.
I changed some 4mm hoses for 6mm hoses, and fires every 2 seconds, before I did every 4 approximately. :bounce: He changed the bad pressure regulator he had, for a party that has more air flow. Keep shooting at 6X, lead bb .22 caliber. We will see how this follows.
I already uploaded the video here, and I do it again, (to compare with the new video I will do, I want to have them close).
Only this previous version, fired 6mm bb of airsoft.
[youtube][/youtube]
A few days ago I rebuilt the piston, which is now metal. The resin he had is not a friend of the heat generated by firing often.
I changed some 4mm hoses for 6mm hoses, and fires every 2 seconds, before I did every 4 approximately. :bounce: He changed the bad pressure regulator he had, for a party that has more air flow. Keep shooting at 6X, lead bb .22 caliber. We will see how this follows.
I already uploaded the video here, and I do it again, (to compare with the new video I will do, I want to have them close).
Only this previous version, fired 6mm bb of airsoft.
[youtube][/youtube]
- jackssmirkingrevenge
- Five Star General

- Posts: 26216
- Joined: Thu Mar 15, 2007 11:28 pm
- Has thanked: 576 times
- Been thanked: 347 times
Just amazing. Kudos!
hectmarr wrote:You have to make many weapons, because this field is long and short life
- jackssmirkingrevenge
- Five Star General

- Posts: 26216
- Joined: Thu Mar 15, 2007 11:28 pm
- Has thanked: 576 times
- Been thanked: 347 times
The credit is all yours for taking the time to understand the concept, find a way to implement it and, most important, actually do it! As you say, ideas alone don't make holes
I am just happy to have been a part of this forum long enough to see the dream of the hybrid repeater become a reality.
hectmarr wrote:You have to make many weapons, because this field is long and short life
-
hectmarr
- Sergeant


- Posts: 1064
- Joined: Sat May 07, 2016 3:49 pm
- Location: Argentina
- Has thanked: 274 times
- Been thanked: 276 times
- Contact:
Thinking calm, about the possibility of the "automatic hybrid".
The truth is, I only need to speed up the process of this semi-automatic prototype 10 or 15 times, which seems possible, although not very simple.
This model, the current one, assuming that the piezoelectric spark plug is replaced by a fly back type igniter or similar, can fire continuously, but slowly.
The first thing I notice is that the internal diameter of the pneumatic hoses, which are 2.5mm inside and 4mm outside, offer a lot of resistance to the passage of air. They must be replaced by hoses with an internal diameter of at least 4mm. You also have to increase the diameter of the holes in the entire weapon, I mean the gas intake and exhaust holes, because this greatly delays the reloading time. In short, you have to build a new weapon from scratch, and do tests to see how many shots per second can be achieved. I need at least 10 / sec.
Everything else remains the same, and it seems to me that the chances of success are greater, using a system that works perfectly and does not fail, beyond the replacement of some damaged o`ring.
I have thought about changing the 5.5 mm spherical lead ammunition to 6.35 bb, because I can recover them and I know that if I manage to fire automatically the ammunition consumption will be very high.
This semi-automatic prototype spends many lead bb's, because once fired they are irretrievable, because they are damaged, even when shooting at a soft target, a thin cardboard box with rags inside.
I did some tests, to start, with the 5/2 solenoid valve with solenoid, to see how many times per second the solenoid can act, and yes, it has enough speed to operate an automatic hybrid. This afternoon I will make a video of the preliminary tests of the solenoid valve.
The truth is, I only need to speed up the process of this semi-automatic prototype 10 or 15 times, which seems possible, although not very simple.
This model, the current one, assuming that the piezoelectric spark plug is replaced by a fly back type igniter or similar, can fire continuously, but slowly.
The first thing I notice is that the internal diameter of the pneumatic hoses, which are 2.5mm inside and 4mm outside, offer a lot of resistance to the passage of air. They must be replaced by hoses with an internal diameter of at least 4mm. You also have to increase the diameter of the holes in the entire weapon, I mean the gas intake and exhaust holes, because this greatly delays the reloading time. In short, you have to build a new weapon from scratch, and do tests to see how many shots per second can be achieved. I need at least 10 / sec.
Everything else remains the same, and it seems to me that the chances of success are greater, using a system that works perfectly and does not fail, beyond the replacement of some damaged o`ring.
I have thought about changing the 5.5 mm spherical lead ammunition to 6.35 bb, because I can recover them and I know that if I manage to fire automatically the ammunition consumption will be very high.
This semi-automatic prototype spends many lead bb's, because once fired they are irretrievable, because they are damaged, even when shooting at a soft target, a thin cardboard box with rags inside.
I did some tests, to start, with the 5/2 solenoid valve with solenoid, to see how many times per second the solenoid can act, and yes, it has enough speed to operate an automatic hybrid. This afternoon I will make a video of the preliminary tests of the solenoid valve.
-
hectmarr
- Sergeant


- Posts: 1064
- Joined: Sat May 07, 2016 3:49 pm
- Location: Argentina
- Has thanked: 274 times
- Been thanked: 276 times
- Contact:
I made the video to share here.
This is the trigger frequency I am looking for.
Actually, speaking of the ignition, a commercial electronic spark plug could be used, fired at the right moment, by this same video mechanism.
I used a modified model airplane servo motor and a push button driven by this servo.
I imagine I should send bithane and air mixture directly to the blast chamber. The rest, the ammunition loading system, can work the same or faster than this, I have already tried it. Remember that it is a small single-acting pneumatic actuator with spring return, in charge of moving the bolt, in tune with the hybrid's power system.
Another issue that slows down the mixture charging process is the small spring of the one-way check valves. I have tried using them without the spring, that is in bistable mode, and everything goes faster.
Too bad not being able to use a tank with the mixture formed, because in this way it would be firing automatically in two days, but it is not an option due to the serious danger it involves.
Logically, the experiment serves apart, for an automatic airgun
This is the trigger frequency I am looking for.
Actually, speaking of the ignition, a commercial electronic spark plug could be used, fired at the right moment, by this same video mechanism.
I used a modified model airplane servo motor and a push button driven by this servo.
I imagine I should send bithane and air mixture directly to the blast chamber. The rest, the ammunition loading system, can work the same or faster than this, I have already tried it. Remember that it is a small single-acting pneumatic actuator with spring return, in charge of moving the bolt, in tune with the hybrid's power system.
Another issue that slows down the mixture charging process is the small spring of the one-way check valves. I have tried using them without the spring, that is in bistable mode, and everything goes faster.
Too bad not being able to use a tank with the mixture formed, because in this way it would be firing automatically in two days, but it is not an option due to the serious danger it involves.
Logically, the experiment serves apart, for an automatic airgun
-
hectmarr
- Sergeant


- Posts: 1064
- Joined: Sat May 07, 2016 3:49 pm
- Location: Argentina
- Has thanked: 274 times
- Been thanked: 276 times
- Contact:
On the other hand, the user "Yasu" published this combustion cannon, which only makes noise because I think I remember these weapons are illegal in Japan. Just because Yasu can't use a projectile doesn't mean he can't shoot anything ... I can't find his posts here on this forum to try to learn something that will serve me well for my project. He has several videos on Youtube, I leave this one here:
-
90zimara
- Private


- Posts: 10
- Joined: Thu Feb 22, 2018 10:41 am
- Has thanked: 2 times
- Been thanked: 1 time
Hey, buddy. Turns out I don't know how to send DMs in this forum. Three years ago I had been asking for help to create a hybrid cannon but unfortunately I had to pause it. Could you help me? I see you speak Spanish and I could use that, I'm sorry if you mind my comment and thank you very much in advance.hectmarr wrote: ↑Mon Feb 08, 2021 1:59 pmOn the other hand, the user "Yasu" published this combustion cannon, which only makes noise because I think I remember these weapons are illegal in Japan. Just because Yasu can't use a projectile doesn't mean he can't shoot anything ... I can't find his posts here on this forum to try to learn something that will serve me well for my project. He has several videos on Youtube, I leave this one here:
Please post in English. I did the translation for you this time.
Last edited by jrrdw on Tue Feb 09, 2021 5:33 am, edited 1 time in total.
Reason: Translated to English.
Reason: Translated to English.
- jackssmirkingrevenge
- Five Star General

- Posts: 26216
- Joined: Thu Mar 15, 2007 11:28 pm
- Has thanked: 576 times
- Been thanked: 347 times
Holy... eres un fenomeno Hector! I really like the electro-mechanical control
Honestly, I do not think this is as dangerous as it sounds, as long as you have a system of check valves that would prevent any back flow. I do however understand that psychologically one would want to avoid it.Too bad not being able to use a tank with the mixture formed, because in this way it would be firing automatically in two days, but it is not an option due to the serious danger it involves.
You definitely will need cooling for the combustion chamber, that thing is going to heat up quickly. Maybe some aluminum extrusions intended as heat sinks for electronic components...

As to feeding the ammunition, you already have plenty of experience in this department.
There is energy to spare to make a direct blowback mechanism, or if you're feeling fancy now that there is electronic control, use a solenoid or stepper motor to control it...
here it is: viewtopic.php?f=26&t=26309
hectmarr wrote:You have to make many weapons, because this field is long and short life
-
hectmarr
- Sergeant


- Posts: 1064
- Joined: Sat May 07, 2016 3:49 pm
- Location: Argentina
- Has thanked: 274 times
- Been thanked: 276 times
- Contact:
Hi. Yes, we can help you together here. You have to make a publication with your project.Oye, amigo. Resulta que no sé cómo enviar mensajes directos en este foro. Hace tres años había estado pidiendo ayuda para crear un cañón híbrido pero desafortunadamente tuve que pausarlo. ¿Usted me podría ayudar? Veo que habla español y que podría utilizar eso, lo siento si te importa mi comentario y muchas gracias de antemano.
Regarding the language, use the google translator or any other, it is just copy and paste.
To publish your project, if you want to release a hybrid cannon, you have to go here: viewforum.php?f=28
Then go top left to "new topic" and that's it.
I await your publication. Greetings and welcome to the forum!
